Dallmer Çekvalf RS 50'lik Lavabo, duş veya küvetten suyun geri tepmesini engeller.
DN50 boru çapına uygundur.
• Gri su hattında (lavabo, duş, küvet vb.) yaşanan geri tepme probleminin çözümünde kullanılan, tek yönlü otomatik çalışan yüzer top sistemine sahiptir
• Yatay ve düşey kullanılabilir.
• 10 yıl garantili, 16 milyon Euro sigorta teminatlıdır.
• Dallmer'in yüz yılı aşan tecrübesi ile Almanya'da üretilmiştir.
1993'ten beri YapıServis güvencesi ile..Firmamız Dallmer resmi Türkiye distribütörüdür. Özellikleri Lavabo, duş veya küvetten suyun geri tepmesini engeller.
Yüzer top sistemi ile “problemli” uygulamalarda pratik çözüm sağlar.

Su akışı olduğunda sistem açıktır, yüzer top suyun akışına izin verir. Su baskını olduğunda yüzer top sistemi kapatır, geri tepmeyi engeller.
Dışkı içermeyen pissu hatlarına uygundur. Dışkı içeren hatlarda kullanılmaz.
Polipropilen gövde.
Temizlik gözü.
Yatay veya düşey kullanma imkanı.
Yatay montaj 
Yatay montajda ürünü yukarıda görüldüğü gibi, düz kısmı aşağıya, bombeli kısmı yukarıya bakacak şekilde monte edin.
Düşey montaj
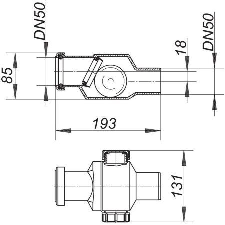
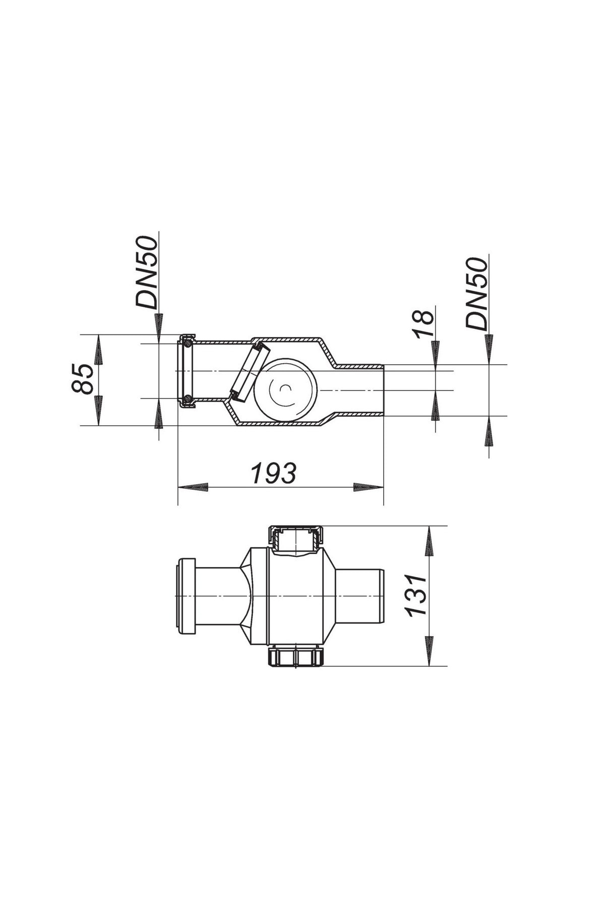
Ürün ölçüleri 
Yukarıdaki bilgiler mevcut bilgi ve tecrübeler sonucunda oluşturulmuştur. Hatalı uygulamadan ve (veya) tavsiye edilmeyen yerlerde kullanımdan oluşabilecek zararlardan firmamız mesul değildir. Ürünlerin yapısında ve içeriğinde değişiklik yapma hakkı tarafımızda saklıdır.
YapıServis……1993’ten bugüne çözüm ortağınız. YapıServis bina atık su ve yağmur suyu drenajı, su yalıtımı ve bina koruma ürünleri konularında Türkiye ve çevre ülke pazarlarında yenilikçi, yüksek kalitede, güvenilir yapı ürünlerinin tedarikçisi olarak hizmet vermektedir. Bina atık su ve yağmur suyu drenajı konusunda Dallmer, Studor, McAlpine ürünlerinin, su yalıtımı konusunda ise Hahne ürünlerinin distribütörlüğünü yürütmektedir. Bunun yanında, İsola markası altında su yalıtımı ve yapı kimyasalları ürünlerinin üretim ve dağıtımını sürdürmektedir.